以SAMSON 的4763 電/氣閥門定位器(圖1A)為例,定位器主要組成部分見圖2。

圖2
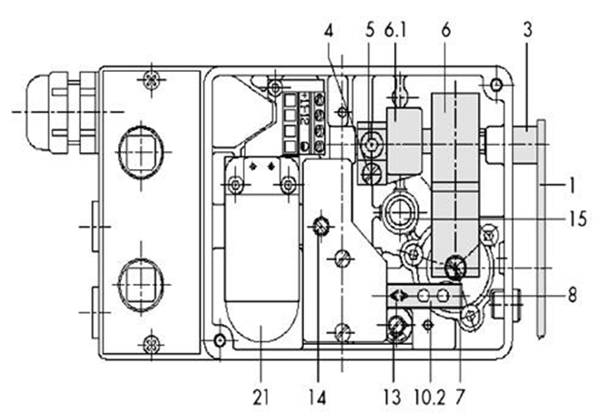
1.反饋桿(1) 2.反饋彈簧(6) 3.反饋風箱(7) 4. 氣動功率放大器(7下部) 5. 電/氣轉換器(21)
1. 模擬定位器
我們還是以SAMSON的4763定位器為例(參考圖3)。我們設:調節閥為FC(氣開);定位器為正作用

A)閥位根據輸入信號成比例動作
輸入信號↑→Pe 點氣壓↑→反饋風箱中連桿(9)向左動作→壓緊彈簧(6),擋板(10.2)靠近噴嘴(10.1)→輸出風壓↑→閥桿(對于氣開閥)↑→壓緊彈簧(6)→反饋風箱中連桿(9)向右動作→擋板(10.2)離開噴嘴(10.1)→輸出氣壓(Pst)↓。當反饋彈簧的力與反饋風箱的力平衡時,閥位保持與輸入信號對應的位置。
B)定位
當輸入信號不變時:由于工藝條件變化導致閥桿↑→壓緊執行器彈簧→壓緊彈簧(6)→反饋風箱中連桿(9)向右動作→擋板(10.2)離開噴嘴(10.1)→輸出氣壓↓→由執行器向下的彈簧力使閥位回到原來的地方。
由于工藝條件變化導致閥桿↓→放松執行器彈簧→放松彈簧(6)→反饋風箱中連桿(9)向左動作→擋板(10.2)靠近噴嘴(10.1)→輸出氣壓↑→使執行器向上運動使閥位回到原來的地方。
主營產品:氣動調節閥 - 電動調節閥 - 自力式調節閥
版版權所有 © 上海大田閥門管道工程有限公司
地址:上海市浦東新區川宏路528號宏圖大樓5樓

















































